19500彩票网

不锈钢反应釜

您当前的位置:首页 » 19500彩票网 » 电解槽  » 电解槽
电解槽

电解槽

电解槽

详细信息 :


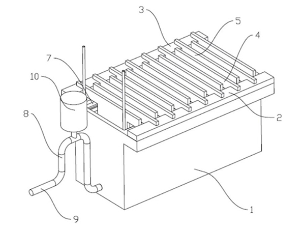
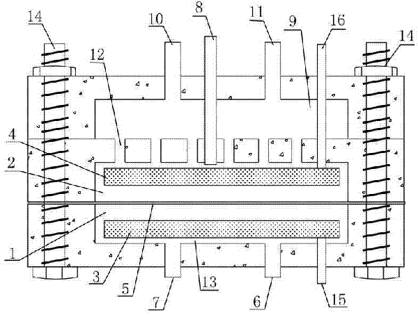
19500彩票网 电解槽由槽体、阳和阴组成,多数用隔膜将阳室和阴室隔开。按电解液的不同分为水溶液电解槽、熔融盐电解槽和非水溶液电解槽三类。当直流电通过电解槽时,在阳与溶液界面处发生氧化反应,在阴与溶液界面处发生还原反应,以制取所需产品。对电解槽结构进行优化设计,合理选择电和隔膜材料,是提高电流效率、降低槽电压、节省能耗的关键。

Copyright 威海行雨化工机械有限公司 版权所有    本站关键词:不锈钢反应釜高压反应釜加氢反应釜磁力反应釜    

香港六玄开奖网-六玄网132432-六玄神马开奖44579-六玄公式6588777-六玄神马免费中特料-澳彩六玄网论坛6258cmcc 万彩网-欢迎光临 澳门灵蛇网4949-香港灵蛇网论坛资料大全最新-灵蛇网4846cc最新版本更新内容-灵蛇网4668cc-灵蛇澳门2025年今晚看 灵蛇澳门2025年今晚看-灵蛇网4846cc-灵蛇网免费资料大全--灵蛇网4846cc最新版本更新内容-澳门灵蛇网4949 88彩票 - 安全购彩 天游8线路检测中心|欢迎您